Категории
Кран шаровой стандартнопроходной 383 фланцевый
Характеристики
Макс. температура (Т) °С.: до +80 °С
Мин. температура (Т) °С.: до -40 °С (исп. У), до -60 °С (исп. ХЛ)
Класс герметичности: Класс «А» ГОСТ 9544-2015
Срок службы: Не менее 40 лет.
Гарантийный срок: 3 года или не менее 10 000 циклов
Тип присоединения:
фланцевый/фланцевый
Рабочая среда:
Природный газ, сжиженный углеводородный газ и другие газообразные среды, неагрессивные для материалов деталей крана.
Модификации
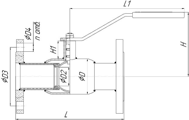
| Артикул | DN | PN | L | L1 | H | H1 | D | D1 | D2 | D3 | N OF HOLES | Вес | |
|---|---|---|---|---|---|---|---|---|---|---|---|---|---|
| 38320015 | 15 | 40 | 130 | 157,5 | 67 | 15,5 | 42 | 42 | 10 | 14 | 4 | 1,80 | |
| 38320020 | 20 | 40 | 150 | 157,5 | 69 | 17,5 | 42 | 75 | 15 | 14 | 4 | 2,35 | |
| 38320025 | 25 | 40 | 160 | 157,5 | 72 | 17 | 48 | 85 | 18 | 14 | 4 | 2,85 | |
| 38320032 | 32 | 40 | 180 | 157,5 | 76 | 17 | 57 | 100 | 24 | 18 | 4 | 3,95 | |
| 38320040 | 40 | 40 | 200 | 240 | 126 | 37,5 | 60 | 110 | 30 | 18 | 4 | 5,10 | |
| 38320050 | 50 | 40 | 230 | 240 | 134,5 | 38 | 76 | 125 | 40 | 18 | 4 | 6,15 | |
| 38320065 | 65 | 16 | 270 | 240 | 142 | 39 | 89 | 145 | 48 | 18 | 4 | 8,40 | |
| 38320080 | 80 | 16 | 280 | 276 | 172,5 | 57 | 114 | 160 | 63 | 18 | 4 | 11,10 | |
| 38320100 | 100 | 16 | 300 | 276 | 182 | 57 | 133 | 180 | 75 | 18 | 8 | 13,90 |